| 2. 대형 제트기에서 착륙시 스포일러를 사용하는 가장 큰 이유는?
               [2015.07.19] 기출문제  | 
            
| 
                 | 
            
| 3. 활공각이 90°로 무동력 급강하(diving)비행시 비행기의 속도는 어떻게 되는가 ?
               [2015.01.25] 기출문제  | 
            
| 
                 | 
            
| 4. 프로펠러 깃 뿌리로부터 깃 끝까지 프로펠러 깃의 기하학적 피치를 균일하게 하기 위한 조치로 가장 옳은 것은?
               [2015.01.25] 기출문제  | 
            
| 
                 | 
            
| 5. 초음속 공기의 흐름에서 통로가 좁아질 때 일어나는 현상을 옳게 설명한 것은?
               [2016.04.02] 기출문제  | 
            
| 
                 | 
            
| 6. 받음각과 양력과의 관계에서 날개의 받음각이 일정수준을 지나면 양력이 감소하고 향력이 증가하는 현상은?
               [2016.04.02] 기출문제  | 
            
| 
                 | 
            
| 7. 평균 캠버선으로부터 시위선까지의 거리가 가장 먼 곳을 무엇이라 하는가?
               [2015.10.10] 기출문제  | 
            
| 
                 | 
            
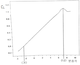
| 8. 그림과 같은 받음각에 따른 양력계수(CL)의 변화를 나타낸 그래프에서 (가)와 (나)에 대한 용어로 옳은 것은?
               [2015.04.04] 기출문제  | 
            
![]()  | 
            
| 
                 | 
            
| 9. 비행기의 동적 세로 안정에서 받음각이 거의 일정하며 주기가 매우 길고 조종사가 쉽게 느끼지 못하는 운동은 ?
               [2015.01.25] 기출문제  | 
            
| 
                 | 
            
| 10. 고속형 날개에서 항력 발산 마하수를 넘어서면 어떤 항력이 급증하는가?
               [2015.04.04] 기출문제  | 
            
| 
                 | 
            
| 11. 형광침투검사에 대한 [보기]의 작업을 순서대로 나열한 것은?
               [2016.04.02] 기출문제  | 
            
| ㉠ 침투 ㉡ 현상 ㉢ 검사 ㉣ 세척 ㉤ 사전처리 ㉥ 유화처리 ㉦ 건조 | 
| 
                 | 
            
| 12. 다음 중 항공기의 부조종면은?
               [2015.07.19] 기출문제  | 
            
| 
                 | 
            
| 13. 헬리콥터가 전진비행을 할 때 회전 날개 깃에 발생하는 양력분포의 불균형을 해결할수 있는 방법으로 가장 옳은 것은?
               [2015.04.04] 기출문제  | 
            
| 
                 | 
            
| 14. 비압축성 흐름에서의 형상항력, 압력항력 및 마찰항력의 관계를 옳게 나타낸 것은?
               [2015.07.19] 기출문제  | 
            
| 
                 | 
            
| 15. 토크렌치에 사용자가 원하는 토크값을 미리 지정(setting)시킨 후 볼트를 조이면 정해진 토크 값에서 소리가 나는 방식의 토크렌치는?
               [2016.01.24] 기출문제  | 
            
| 
                 | 
            
| 16. 불이 지속적으로 탈 수 있는 조건을 만들어 주는 화재의 3요소가 아닌 것은 ?
               [2015.01.25] 기출문제  | 
            
| 
                 | 
            
| 17. 입구의 지름이 10cm이고, 출구의 지름이 20cm인 원형관에 액체가 흐르고 있다. 지름 20cm ,되는 단면적에서의 속도가 2.4m/s일 때 지름 10cm 되는 단면적에서의 속도는 약 몇 m/s 인가?
               [2015.04.04] 기출문제  | 
            
| 
                 | 
            
| 18. 다음 영문의 내용을 옳게 번역한 것은?
               [2016.01.24] 기출문제  | 
            
| A lead is a wire cocnnecting a spark plug to a magneto. | 
| 
                 | 
            
| 19. 헬리콥터에서 리드-래그 힌지 감쇠기를 설치하는 가장 큰 이유는?
               [2016.04.02] 기출문제  | 
            
| 
                 | 
            
| 20. 수직 공간이 제한된 곳에 사용되는 스크류 드라이버의 명칭으로 옳은 것은?
               [2015.04.04] 기출문제  | 
            
| 
                 | 
            
| 21. 항공기 구조부재 수리작업에서 1열 패치 작업시 플러시 머리리벳의 끝거리는?
               [2016.04.02] 기출문제  | 
            
| 
                 | 
            
| 22. 다음 중 녹색의 안전색체 표시를 해야 하는 공항시설물과 각종 장비는?
               [2015.10.10] 기출문제  | 
            
| 
                 | 
            
| 23. 다음 중 전기적인 화재는 어느 것인가?
               [2014.10.11] 기출문제  | 
            
| 
                 | 
            
| 24. 다음 질문에서 요구하는 장치는?
               [2016.01.24] 기출문제  | 
            
| How are changes in direction of a control cable accomplished? | 
| 
                 | 
            
| 25. 그림과 같은 항공기 표준 유도신호의 의미는?
               [2016.04.02] 기출문제  | 
            
![]()  | 
            
| 
                 | 
            
| 26. 항공기 견인작업(TOWING)에 대한 설명이 아닌 것은?
               [2015.01.25] 기출문제  | 
            
| 
                 | 
            
| 27. 가스터빈기관 애뉼러형 연소실의 구성요소가 아닌 것은?
               [2015.10.10] 기출문제  | 
            
| 
                 | 
            
| 28. 항공기용 기계요소 및 재료에 대한 규격 중 군(military)에 관련된 규격이 아닌 것은?
               [2015.04.04] 기출문제  | 
            
| 
                 | 
            
| 29. 두께가 각각 1mm, 2mm 인 판을 리벳팅 하려 할 때 리벳의 직경은 약 몇 mm 가 가장 적당한가?
               [2014.10.11] 기출문제  | 
            
| 
                 | 
            
| 30. 항공기 배관 계통에 알루미늄합금 튜브의 이중 플레어링을 적용하기에 가장 적당한 곳은?
               [2015.07.19] 기출문제  | 
            
| 
                 | 
            
| 31. "MSS20426AD4-4"리벳을 사용한 리벳 배치 작업 시 최소 끝거리는 몇 인치인가?
               [2015.04.04] 기출문제  | 
            
| 
                 | 
            
| 32. 왕복기관에서 냉각공기의 유량을 조절함으로써 기관의 냉각효과를 조절하는 장치는 무엇인가?
               [2015.07.19] 기출문제  | 
            
| 
                 | 
            
| 33. 다음 중 안전에 관한 색의 설명으로 틀린 것은?
               [2015.07.19] 기출문제  | 
            
| 
                 | 
            
| 34. 다음 중 피로균열 등과 같이 표면 결함 및 표면 바로 및의 결함을 발견하는데 효과적이며 높은 숙련도를 지닌 검사원이 필요없고, 강자성체에만 적용될수 있는 비파괴 검사 방법은 ?
               [2015.01.25] 기출문제  | 
            
| 
                 | 
            
| 35. 유압계통에서 튜브의 크기로 무엇을 표기하는가?
               [2015.07.19] 기출문제  | 
            
| 
                 | 
            
| 36. 나사산에 기름이나 그리스가 묻어있을 경우 정상적인 규정 토크로 작업을 한다면 볼트의 조임 상태는 어떠한가?
               [2016.01.24] 기출문제  | 
            
| 
                 | 
            
| 37. 밑줄친 부분을 의미하는 단어는?
               [2015.10.10] 기출문제  | 
            
| An aircraft will stall anytime its critical angle of attact is exceeded. | 
| 
                 | 
            
| 38. ( ) should never deflect the alignment of a cable more then 3°
               [2015.07.19] 기출문제  | 
            
| 
                 | 
            
| 39. 화학적 또는 전기화학적 반응에 의해 재료의 성질이 변화 또는 퇴화하는 현상을 무엇이라 하는가?
               [2015.04.04] 기출문제  | 
            
| 
                 | 
            
| 40. 다음 중 항공용 윤활유의 점도 측정에 사용하는 것은?
               [2015.10.10] 기출문제  | 
            
| 
                 | 
            
| 41. 다음 중 에폭시 수지에 대한 설명으로 틀린 것은?
               [2016.01.24] 기출문제  | 
            
| 
                 | 
            
| 42. 수평등속비행 중인 항공기의 날개 상부에 작용하는 응력은?
               [2016.01.24] 기출문제  | 
            
| 
                 | 
            
| 43. 재료의 응력과 변형률의 관계를 재료 시험을 통하여 얻을 때, 가장 보편적으로 시행하는 재료 시험은?
               [2015.10.10] 기출문제  | 
            
| 
                 | 
            
| 44. 착륙 시 브레이크 효율을 높이기 위하여 미끄럼이 일어나는 현상을 방지시켜주는 것은?
               [2016.04.02] 기출문제  | 
            
| 
                 | 
            
| 45. 굽힘이나 변형이 거의 일어나지 않고 부서지는 금속의 성질을 무엇이라 하는가?
               [2015.10.10] 기출문제  | 
            
| 
                 | 
            
| 46. 헬리콥터에서 수직 핀(Vertical fin)에 대한 설명으로 틀린 것은?
               [2015.10.10] 기출문제  | 
            
| 
                 | 
            
| 47. 항공기 날개에 기관을 장착하기 위해 필요한 구조물은?
               [2015.01.25] 기출문제  | 
            
| 
                 | 
            
| 48. 금속침투법, 담금질법, 침탄법, 질화법 등은 무엇을 하는 방법인가?
               [2015.10.10] 기출문제  | 
            
| 
                 | 
            
| 49. 안전여유를 구하는 식으로 옳은 것은?(다)
               [2015.10.10] 기출문제  | 
            
| 
                 | 
            
| 50. 플라스틱 가운데 투명도가 가장 높으며, 광학적 성질이 우수하여 항공기용 창문 유리로 사용되는 재료는?
               [2015.01.25] 기출문제  | 
            
| 
                 | 
            
| 51. 알루미늄-구리-마그네슘계 합금으로 일명 “초두랄루민”이라하고 파괴에 대한 저항성이 우수하며, 피로강도도 양호하여 인장하중에 크게 작용하는 대형 항공기 날개 밑면의 외피나 동체의 외피로 사용되는 것은?
               [2015.01.25] 기출문제  | 
            
| 
                 | 
            
| 52. 착륙 시 브레이크 효율을 높이기 위하여 미끄럼이 일어나는 현상을 방지시켜주는 것은?
               [2016.04.02] 기출문제  | 
            
| 
                 | 
            
| 53. 헬리콥터의 스키드 기어형 착륙장치에 대한 설명으로 틀린 것은?
               [2015.04.04] 기출문제  | 
            
| 
                 | 
            
| 54. 실란트(sealant)에 대한 설명으로 틀린 것은?
               [2015.01.25] 기출문제  | 
            
| 
                 | 
            
| 55. 헬리콥터의 착륙장치에 대한 설명으로 틀린 것은?
               [2016.01.24] 기출문제  | 
            
| 
                 | 
            
| 56. 열가소성 수지 중 유압 백업링(back-up ring), 호스(hose), 패킹(packing), 전선피복(coating) 등에 사용되는 수지는?
               [2015.04.04] 기출문제  | 
            
| 
                 | 
            
| 57. 황이 많이 함유된 탄소강의 적열, 메짐(Red shortness)을 방지하기 위하여 증가시켜야 하는 것은?
               [2015.10.10] 기출문제  | 
            
| 
                 | 
            
| 58. 헬리콥터의 운동 중 동시피치레버(collective pitch lever)로 조종하는 운동은?
               [2015.10.10] 기출문제  | 
            
| 
                 | 
            
| 59. 항공기에서 방향키 페달의 기능이 아닌 것은?
               [2016.01.24] 기출문제  | 
            
| 
                 | 
            
| 60. 다음 중 헬리콥터 회전날개 깃의 피치를 변화시키는 것과 가장 관계 깊은 것은?
               [2015.10.10] 기출문제  | 
            
| 
                 | 
            
          Design & Develop by keeman.kim
          기출문제의 저작권은 원저작자에게 있으며, 그 외 문제 및 해설은 본 사이트 운영자에게 저작권이 있습니다.